DZ-03定位底座
一、DZ-03概述:
本底座確定探測器有唯一的安裝位置,接線簡單方便,適用于JTY-GF-GST104型點型光電感煙火災探測器、JTWB-ZCD-G1(A) 型點型感溫火災探測器、JTFB-GOF-GST601型點型復合式感煙感溫火災探測器、JTG-ZW-G1B型點型紫外火焰探測器安裝接線。
二、DZ-03結構特征、安裝與布線:
探測器安裝接線盒可采用86H50型標準預埋盒,安裝采用DZ-03定位底座,其示意圖如下圖:

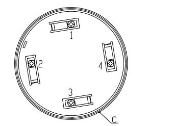
定位底座上有四個帶數字標識的接線端子,“1”接編址接口模塊輸出端的正極;“2”作為輸出連接下一只探測器的電源正極(即“1”號端子);“3”與下一只探測器的電源負極(即“3”號端子)連到一起,并接在編址接口模塊輸出端的負極上;“4”不接線,用來輔助固定探測器。
輸出回路終端接有GST-LD-8320終端器,底座“1”、“2”間連接一只1N5819二極管(注意極性)。
探測器底部示意圖如下圖:

探測器與底座上有定位凸棱,使探測器具有唯一的安裝位置。定位底座A、B處有兩個凸棱,探測器底部側面C處有一個凸棱。裝配時,將探測器凸棱C對準定位底座A處,順時針旋轉至B處即可安裝好探測器。
探測器與GST-LD-8319輸入模塊配合應用。
布線要求:采用截面積≥1.0 mm2的阻燃RV或BVR線。
智淼君安(江蘇)消防工程技術有限公司http://m.myxcl.org.cn/本頁關鍵詞:
上一篇:DZ-02(Ex)防爆通用底座 下一篇:GST-LD-8320終端器

蘇公網安備32058102002148號